Bitcoin, schon gehört!
Hier informieren!Bitcoin

Niederschlagsradar Deutschland

Elektronik Schaltkreise

Übersicht

<überarbeitet
14.04.11

Ursprünglich sind die Tabellen nur für meine private Verwendung entstanden und bedürfen daher sicherlich noch mehrerer Überarbeitungen.

Schaltkreise Archiv

 

teilw. Nur Anschluß- Belegung

 

 

Interne Ordnungszahl

Typ

Daten Info als

Stück

Anm.

E16.

75 154 PC

DIL-16

1

T 813206

B12.

A 301, R 301

7

Sensor- und lnitiatorschaltkreise

B1.

A 302

1

 

F 1.

B 080

2

 

F13.

B 081

1

 

F15.

B 082

0

 

F 2.

B 083

2

 

F 8.

B 3170

4

 

F 7.

B 3370

3

 

F 3.

B 461

4

 

F 4.

B 511

3

 

F 6.

B 556

vergleiche auch 555:

1

Zeitgeber

F 5.

B 589

4

 

F 9.

B 861

3

 

F14.

B 2761

2

2 fach-OPV

F18.

B 611

2

 

D14.

C 500

1

 

D15.

C 502

3

 

D13.

C 520

0

 

D7.

CD 4011

6

 

A3.

CD 74HCT02E 

15

Vierfach-NOR mit je 2 Eingängen

E 1.

D 100

3

Vierfach-NAND mit je 2 Eingängen

E 2.

D 103

3

Vierfach-NAND mit je 2 Eingängen

E 3.

D 110

2

 

E 4.

D 120

 

Zweifach-NAND mit je 4 Eingängen

C1.

D 140

2

Zwei NAND-Leistungsgatter mit je 4 Eingängen

C4.

D 153

3

Erweiterbares AND/OR/INVERT-Gatter

E13.

D 172

4

Einfach positiv pulsgetriggerte JK-Flip-Flop

E 7.

D 193

3

Synchroner
Binärzähler

C9.

D 204

4

Sechs
 Inverter

E10.

D 230

2

NAND-Gatter mit 8 Eingängen

C5.

D 254

5

Nichtexpandierbare AND/OR/NOT-Gatter

C6.

D 348

D348

6

 

C2.

D/P 146

D146

2

 

C2.

D/P 147

D147

6

 

D3.

DL 000

DL000

8

 

D1.

DL 090

DL090

8

 

D5.

DL 257

DL257

2

 

D11.

K 561 KT3

V4066

2

 

D6.

K155LA2

D130

1

 

C16.

K1LB 332

D130

1

 

C14.

MA 3006

MA3006

3

 

E15.

MAA 723

MAA723

2

 

E14.

MAA 725

MAA725

1

 

C15.

MAA 741

MAA741

1

 

C17.

MBA 125

MBA125

1

 

A9.

MC 4044P

K8426

15

 

C13.

MZH 115

 

2

 

E 5.

P 122

 

2

 

E 6.

P 130

D130

2

 

E 8.

P 195

 

1

 

E 9.

P 220

 

3

 

E11.

P 240

 

5

 

E12.

P 251

 

 

 

C7.

P 274

 

1

 

C8.

P 461

 

1

 

D4.

PL 008

DL008

1

 

D2.

PL 074

DL074

3

 

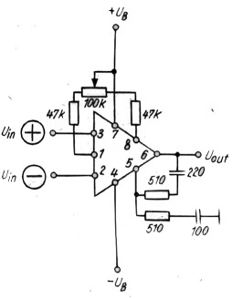
B14.

R 109

A109

6

Operationsverstärker

B13.

R 110

A110

1

Komparator

B15.

R 210

A210

1

6 W-NF-Leistungsverstärker

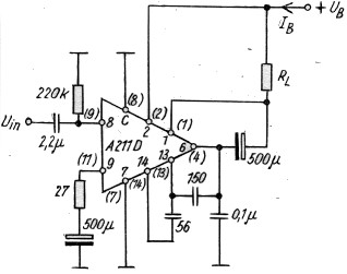
B16.

R 211

A211

3

1 W-NF-Verstärker

B17.

R 220

A220

2

 

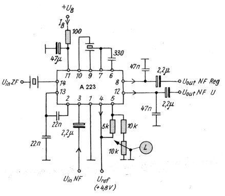
B7.

R 223

A223

3

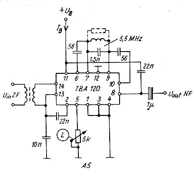
Ton-ZF-Verstärker

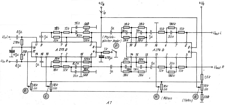
B8.

R 273

A273

1

 

B9.

R 274

A273

1

 

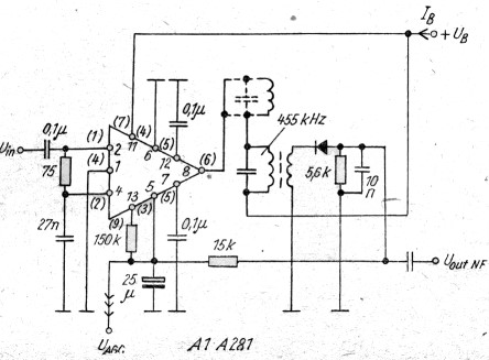
B10.

R 281

A281

2

 

B11.

R 283

 

2

 

B18.

R 555

B555

5

 

A13.

SN 7438N

7438

25

 

C3.

SN 7450

SN7450

3

 

A14.

SN 74HC244

 

32

 

A17.

SN 74S05N

SN74S05

20

 

A18.

SN 74S51N

SN74S51

7

 

C18.

SN 75450BN

 

1

 

B4.

TDA 2003

 

3

 

A7.

U 105

U105

2

 

A7.

U 106

U106

2

 

A7.

U 107

U107

2

 

C11.

U 124

 

1

 

E17.

U 2164

 

5

 

C10.

U 224

 

2

 

E18.

U 256

 

2

 

D8.

U 4050

U4050

4

 

C12.

UCY 74S405

8205

1

 

D12.

V 4012

V4012

5

 

A8.

V 4046

V4046

2

 

D10.

V 40511

V40511

0

 

D9.

V 4093

V4093

2

 

Rohrleitungssucher

Treppenspannungsgenerator

Quarzgeneratoren

Feuchtemelder

Das große Schaltkreis-Bastelbuch
Nach Oben

Habe in diesem Buch sehr interessante Informationen zum Umgang mit Schaltkreisen gefunden und würde diese gerne jedem Interessierten zur Verfügung stellen(Verkaufe das Buch nur ungern)

Kontakt: webmaster@torstenbubbe.de

Aus dem Inhalt.pdf

[Home] [Computer] [Elektronik] [Knopfzellen] [Küchenmontagen] [Möbelmontagen]

Zum Gästebuch

 

[AGB] [Impressum]

© Torsten Bubbe

 

Unsere Partner:

---------------------------- Billigflug
---------------------------- Pauschalreisen
---------------------------- VfG-Versandapotheke DE/AT
---------------------------- ---------------------------- Orion - 100 % Erotik
----------------------------