Bitcoin, schon gehört!
Hier informieren!Bitcoin

Niederschlagsradar Deutschland

Elektronik Dioden

Bauformen

<überarbeitet
14.04.11

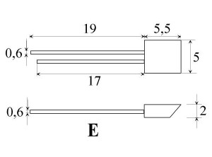
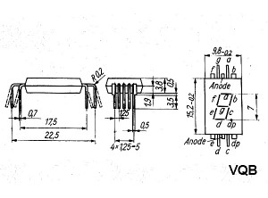
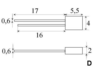
Diese lose Sammlung einiger Dioden-Bauformen dienen nur der Information, eine Bauart- oder Bauformgarantie für die verwendeten Daten kann nicht übernommen werden.
Die vorhandenen Dioden werden hierher verlinkt.

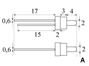
Zur Dioden Übersicht
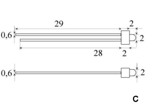
Zur Dioden Übersicht
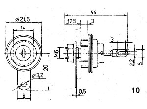
Zur Dioden Übersicht
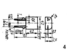
Zur Dioden Übersicht
Zur Dioden Übersicht
Nach Oben
[Home] [Computer] [Elektronik] [Knopfzellen] [Küchenmontagen] [Möbelmontagen]

Zum Gästebuch

 

[AGB] [Impressum]

© Torsten Bubbe

 

Unsere Partner:

---------------------------- Billigflug
---------------------------- Pauschalreisen
---------------------------- VfG-Versandapotheke DE/AT
---------------------------- ---------------------------- Orion - 100 % Erotik
----------------------------